索結構的表現形式
根據受力特點可分為剛性和柔性索結構:
剛性索結構在荷載作用下滿足小變形假定,如斜拉結構、張弦結構(弦支穹頂)、預應力網格結構、索拱結構、索托結構等;

根據受力特點可分為剛性和柔性索結構:
柔性索結構的計算分析必須考慮幾何非線性效應,各項荷載效應之間不再滿足線性疊加原則,如懸索結構(單索結構、索網結構、雙層索系、橫向加勁索系)、索穹頂等。

索結構節點類型:
端頭連接:螺栓錨固、螺栓接長、耳板銷軸
中間連接:夾緊、轉向、滑動

按索節點的連接功能分類:
張拉節點、錨固節點、轉折節點、交叉節點、索桿節點
按索節點的連接作用分類:
索與索的連接、索與剛性構件連接、索與支承構件連接、索與圍護結構連接
索與索的連接
同向拉索中間連接張緊

雙向拉索的連接

拉索與柔性邊索的連接

同向拉索中間連接張緊
雙向拉索的連接
拉索與柔性邊索的連接
同向拉索在中間節點改變方向

平面內不同方向拉索之間連接

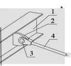
索與剛性構件連接
拉索與橫向加勁桁架下弦連接

撐桿與下弦拉索的連接

拉索與橫向加勁桁架下弦連接
撐桿與下弦拉索的連接
斜索與剛性節點連接

撐桿上節點連接多個方向脊索

索與支承構件連接
拉索與鋼混支承構件連接

拉索與支承鋼柱或鋼梁連接

徑向拉索與支承鋼環梁連接

索與圍護結構連接
拉索與鋼檁條

拉索與玻璃

節點的含義
影響鋼結構建筑中節點形式的因素有很多,節點的分類較為復雜,根據連接件的位置關系,節點可分為:搭接節點、平接節點、角接節點、對接節點等(如圖9所示);根據節點的連接工藝不同可分為:焊接節點、鉚接節點、螺栓連接節點、銷栓連接節點、膠結連接節點等(如圖10所示)。

圖9 根據連接件位置而定的節點分類

圖10 根據連接工藝而定的節點分類
鋼結構建筑中的節點根據其所起到的作用不同,大體可分為結構性節點和構造性節點。結構性節點是結構構件之間連接的節點,是建筑結構中力的集中點與傳遞點,起到完成各構件之間力的傳遞的作用,體現著各構件之間的穩定性和受力平衡,如:桿件與桿件之間的連接、索與索之間的連接、桿件與索之間的連接、構件與支座之間的連接等(如圖11所示)。節點處的不同構件受力方式不同,拉力、壓力、剪力等不同形式的力都反映在節點處,節點將這些力連接成一個整體,形成一個個視覺焦點,壓力在節點處往往雄健有力,增加空間的力量感,而拉力則輕盈明快,給空間增添活躍感(如圖12所示)。約翰內斯堡體育館采用了一種懸掛結構,節點連接了拉索與平衡桿(如圖13所示),節點處拉索通過平衡桿處的封板將拉力轉化為壓力,節點部位的加勁肋增加了節點的剛度和強度,實現了力的平衡。圖中拉索顯然承受很大的力的作用,維持受力平衡的節點顯得強勁有力,體現出節點作為結構構件的力學美[4]。以同濟大學B樓中庭大廳的屋頂為例(如圖14所示),采用四角錐體系網架結構,支撐起大跨度空間的覆頂,采用螺栓球節點(如圖15所示),具有節點部位沒有偏心、受力狀態好等優點。

圖11 結構性節點

圖12 節點的視覺焦點

圖13 約翰內斯堡體育館采用的懸掛結構

圖14 同濟大學B樓中庭大廳的屋頂

圖15 螺栓球節點
構造性節點,連接的是鋼結構建筑的附屬功能構件與結構構件,是皮與骨的連接,節點處不同的材質有著不同的肌理變化和材料質感,如鋼材與玻璃、鋼材與膜材等,這些不同的材料在節點處形成強烈的對比,展現出各種材料的沖突,節點使這些材料在沖突中形成一種和諧、穩定的關系,突出不同材料的交融(如圖16所示)。以玻璃幕墻與受力構件之間的連接為例(如圖17所示),玻璃幕墻與結構構件之間的連接方式較為多樣,如明框式玻璃幕墻構造、隱框半隱框玻璃幕墻構造、全玻式玻璃幕墻構造、點支玻璃幕墻構造等。例如上海當代藝術館的玻璃幕墻即采用點支玻璃幕墻構造,“每塊玻璃的四個角分別由不銹鋼支撐爪件作四點固定,在支撐爪件背后設有11mm的鋼索系統縱橫繃緊固定[5]”,如圖18所示。這種點支玻璃幕墻更強調玻璃的通透性,使得建筑外立面更具特色、內部空間更顯開敞。正是由于節點構造的不斷進步才更好地展現了不同材料的特征與性能。

圖16 構造性節點

圖17 玻璃幕墻與受力構件之間的連接

圖18 上海當代藝術館的玻璃幕墻即采用點支玻璃幕墻構造
索結構的設計原則
綜合考慮建筑外觀、節點傳力方式并結合節點錨具和索體類型等進行概念設計,確定節點連接形式,然后對節點進行具體構造設計。
按相關標準選用索結構節點的材料(熱軋鋼、鑄鋼、高強螺栓副、銷軸、關節軸承、焊接材料、涂裝材料等)。
節點的構造應與計算假定相符,傳力路線簡捷明確、安全可靠,構造簡單合理并便于制作、安裝、索力調整和維護,經濟性好。
節點的強度(含局部承壓強度)、剛度、變形和受壓板件的穩定性應滿足國家標準《鋼結構設計標準》、《索結構技術規程》、《預應力鋼結構技術規程》、《鑄鋼結構技術規程》的規定。
節點的承載力設計值應不小于拉索內力設計值的1.25~1.5倍。
主要受拉節點焊縫質量等級應為一級,其它焊縫質量不低于二級。
對采用新材料或新工藝的重要、復雜節點,可根據節點實際受力狀態進行足尺或縮尺模型的檢驗性試驗(最大內力設計值的1.3倍)或破壞性試驗(最大內力設計值的2.0倍)。
根據環境條件、材質、結構形式、使用要求、施工條件和維護管理條件等進行節點的防火與防腐設計。
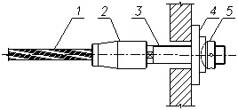
螺桿連接節點設計
螺桿連接節點的多種形式:
拉索接長

索端錨固
螺桿本身是錨具

通過錨箱轉換連接


不同承壓位置

設球鉸等轉動裝置,釋放因大變形引起的端部彎矩

螺桿連接節點設計的一般要求
⊙螺桿連接中螺桿是索體的一部分時,螺桿與索按照等強設計;其他情況下螺桿承載力設計值應按照索拉力設計值的1.25~1.5倍選取。
⊙螺桿承載力計算時應考慮螺紋對螺桿截面削弱的影響。
⊙應采用雙螺母、螺母加彈簧墊片、螺母下設置止動墊圈、螺栓上設置開口銷、自鎖螺母等方式防止螺母松動。
⊙多螺桿連接設計時應考慮合理的張拉順序,確保多根螺桿受力均衡。
⊙螺母應緊固牢靠,外露絲扣不應少于兩扣;對于索-索螺桿連接,應確保螺桿擰入錨具內的螺紋長度不小于10倍螺距。
⊙張拉時要對張拉工裝進行專門設計,防止張拉過程中螺桿承受彎矩。
螺桿連接節點的承載力驗算
螺紋驗算 螺紋是螺桿連接的關鍵部位,一般由生產單位進行專門設計。
內螺紋彎曲應力驗算:

內螺紋剪應力驗算:

外螺紋彎曲應力驗算:

外螺紋剪應力驗算:



接觸面局部承壓驗算
由于錨具端頭較螺桿直徑大,索體要穿過支承部位就需要預留較螺桿直徑更大的孔洞,使得螺母與錨固體接觸面較小,導致局部壓力很大。

支承構件沖切(剪切)驗算
若支承結構構件(鋼板、混凝土板)較薄時,還容易發生沖切(剪切)破壞。

有限元分析
螺桿連接節點常在節點連接域設置加勁板、隔板等,使得節點連接域構造較為復雜。對于索力大、節點構造復雜的螺桿連接節點,應建立有限元模型進行分析。
*以上驗算分別按照現行《混凝土結構設計規范》、《鋼結構設計標準》進行
索夾節點的定義與構成
索夾節點是連接索體和相連構件的一種不可滑動的節點。
一般包括主體、壓板和高強螺栓。
主體直接與非索構件相連,壓板通過高強螺栓與主體相連,通過高強螺栓的緊固力使主體和壓板共同夾持住索體。

* 形式多樣,名稱多樣:夾具、鑄鋼夾具、U形夾、螺栓夾具、鋼板夾具、索球、索瓦、前壓塊、后壓塊、索壓塊等等。



相關資訊